XXXXXXXXXXXXXXXXXXXXXXXXXXXXXXXXXXXXXXXXXXXXXXXXXXXXXXXXXXXXXXXX
火神山医院是名不正理不顺;
平均每个床位33.9平方米建筑面积,达不到规范标准的50%;
选址错误,一是紧靠知音湖,二是距离居住区太近;
实际设置不能满足低压病房要求;
建筑程序颠倒,本应最先开工的上下水管道和化粪池的建设到1月30日才开始,破坏了已经建成的防渗透层,从而引发两个公司工人的冲突。即使采取补救措施,也无法保证一滴医院废水都不进入地下水的要求。
知音湖危矣!武汉水源危矣!长江危矣!
XXXXXXXXXXXXXXXXXXXXXXXXXXXXXXXXXXXXXXXXXXXXXXXXXXXXXXXXXXXXXXXX
中共政府应对武汉肺炎这个突发公共卫生事件中是进退失序,错误百出,真没有什么成绩可以晒出来的。现在官方媒体宣传最多的正能量就是用十天时间建造起来并投入使用的武汉“火神山”医院。中国媒体多拿德国柏林机场来做参照物,凸显中国模式的优势。
一、“火神山”医院还是“知音湖”医院?
“火神山”医院位于武汉知音湖畔。这个湖原名为南湖,又称小南湖,是由后官湖、三角湖、南湖、百镰湖等诸多湖泊构成的水系,水体面积30平方公里。2005年南湖更名为知音湖,纪念春秋时期伯牙遇子期结为知音故事。这个医院若取名知音湖医院,则是名正言顺。《道德经》中有上善若水的论述,水是治疗百病、保持健康的最好药。而且用地名、用水取名的医院很多,如著名的积水潭医院、金银潭医院。
为什么要取名“火神山”医院?毛泽东在《送瘟神》一诗中有“借问瘟神欲何往,纸船明烛照天烧”,毛借烧纸点烛来描写用火送瘟神,这是取义之一。在古代,湖北属于楚国,楚国人自认是三皇之一祝融的后代,根据传说,祝融教人使用火,被称为火神,这是取义之二。
但是把位于知音湖畔的医院取名“火神山”医院总有不吉利的含义。毛泽东诗中的“纸船明烛照天烧”,其实是中国人惦念亡者时烧纸钱点蜡烛的方式。现在烧的东西就多了去了,有各种各样的模型可供烧,房子、汽车、游船,还有美女和帅哥等等。再说现在殡葬方法和过去大不一样,多采用火化的方法。中国火化设备是世界上最最先进的,比如杭州火葬场使用的焚烧炉是浙江大学科技创新的全自动化设备,而德国的火化设备大多还是二十世纪二、三十年代制造的设备。老得掉牙。焚尸炉和火联系起来了。“火神山”对于还不知道如何使用火的古代中国人来说是有“正能量”的,但是对于现代中国人来说满是“负能量”。
二、“火神山”医院的设计违反了中国的规范
所谓武汉“火神山”医院建设的高速度是一种让世界口瞪目呆的高速度:在短短的十天之中建造总面积3.39万平方米,可以容纳1000张病床的医院。
武汉“火神山”医院有1000张病床,建造总面积3.39万平方米,平均每张床的建造面积是33.9平方米。
可惜用“中国速度”建造的“火神山”医院不符合《国务院办公厅关于转发发展改革委卫生部突发公共卫生事件医疗救治体系建设规划的通知》(国办发〔2003〕82号)的要求。该文件对传染病医院的床均建筑面积指标做出规定如下:
根据2003年国家发展改革委员会和卫生部发布的突发公共卫生事件医疗救治体系建设规划的规定,1000张床位的建筑面积应该是8万平方米,而不是3.39万平方米。武汉“火神山”医院的建筑面积不足规范规定的一半,不足表中的40平方米的最低标准(8至30床),就要检查建造“火神山”医院的目标是否真正是为了应对突发公共卫生事件。
有人会说,武汉“火神山”医院是模仿北京小汤山医院的模式复制的,难道小汤山医院也不符合规范?国务院办公厅关于转发发展改革委卫生部突发公共卫生事件医疗救治体系建设规划的通知,正是对萨斯这个突发公共卫生事件后的经验总结。要在全国推广建设应付突发公共卫生事件的医院,不同地区采用不同的等级,所以才制定出这么一个规范,这是在小汤山医院建成之后,萨斯疫情突然消失之后。可惜,中国在萨斯疫情之后,就以为从此岁月静好,没有认真执行,多多建设专门对付突发公共卫生事件的医院。所以当武汉肺炎疫情突然爆发,不得不匆匆忙忙来建“火神山”医院、“雷神山”医院。要赶速度,必然忙中出乱:“火神山”医院竟然不符合中国政府制定的规范。所以有网友评价,“火神山”医院特别简陋,原因也很清楚。
三、“火神山”医院选址的错误
“火神山”医院选址的错误主要有两个,一个是地势太低,太靠近知音湖,这里本是湿地,不宜开发;一个距离居住区太近。
先谈第一个错误,地势太低,太靠近知音湖,本是湿地,不宜开发(见图1、图2)。
“火神山”医院选址直接位于知音湖畔,地势低,比旁边的公路还要低,开发之前这里长满芦苇。
图1:“火神山”医院的位置,来源:网路图片
图2:“火神山”医院的建设场址原为湿地,长满芦苇,地下水位高,瘴气重,来源:网路图片:
关于城市选址,古人有这样的教诲,《管子• 乘马第五》:“凡立国都,非于大山之下,必于广川之上。高毋近阜而水用足,下毋近水而沟防省”。意思说,地势不能太高也不能太低,地势太低就需要大量投资建设防洪工程。
中国传染病医院的规范第3款传染病医院选址中的第3.3条规定:(传染病)医院用地选址应该用地比较方整,地势平坦,具有适合高程地段,保证在洪水汛期易于排水不受水淹的地段。
从日本二十世纪三十年代绘制的一张地图(图3)中可以看到,那时知音湖周围地区尚未被开发,因为地势低,容易被长江洪水所淹没。
图3:1930年日本人绘制的武汉三镇地图。图片来源:wikipedia
武汉的许多用地在历史上就是长江河道, 那时长江河道要比现在宽许多。后来人们围垦长江的河漫滩,并用大堤将围垦的土地与长江河道隔断,但是长江大堤后面的低洼地依然保留为湖泊。二十世纪八十年代,笔者经常去武汉,那时这个地区也没有被开发。后来中国在房地产、工业科技园区开发的推动下,大肆开垦湿地,特别是推崇水景房高级居住区的建设,于是先有了“火神山”医院周围的高级居住区、别墅区的出现。湖北省也一度抱怨,千湖之省的许多湖泊消失了,洪水风险加大了。
根据中国城市规划的规定,医院建筑物的防洪标准应该在能防五十年一遇的洪水。“火神山”医院建筑用地高程低,场地的防洪标准在防二十年一遇的洪水之下,大概可以防十年一遇的洪水。
目前长江在武汉处的水位处于历史偏低的水平,与长江有千丝万缕联系的内湖水位也偏低。笔者在这里只提供几个数据,供读者参考。2020年2月5日汉口水文站的水位为海拔15.59米,2016年4月23日汉口水文站的水位为海拔22.28米,2016年7月8日武汉海关的水位为海拔28.37米,1954年8月16日汉口水文站的水位为29.73米。如果外水长江的水位上升几米甚至十几米,难保“火神山”医院不被知音湖上涨的水位所淹没。
“火神山”医院的建设者说,医院的使用期为三个月。可能是因为根据中国工程院院士们的估计,武汉肺炎病毒传播的高峰期为二月初,后来改为元宵节。最最悲观的估计,这场瘟疫在长江雨季到来之前就会消失,根本不会持续到长江洪水期。也许笔者的担心是多余的。
“火神山”医院的用地先前是湿地,平整土地之前这里长满满芦苇。虽然中国在保护湿地方面没有专门的立法,但是在中国的《中华人民共和国环境保护法》、《中华人民共和国水污染防治法》、《中华人民共和国水法》、《中华人民共和国土地管理法》等法中都有保护湿地的相关条款。特别是中国于1992年7月31日正式加入了国际保护湿地公约,简称《拉姆萨尔公约》,负有履行公约的责任,保护湿地。“火神山”医院的用地属于湿地,是《拉姆萨尔公约》保护的对象。中国政府、湖北省政府、武汉市政府在湿地上建设“火神山”医院是知法犯法。
最后说一说知音湖是不是武汉的备用水源。
当一部分武汉居民得知将在知音湖畔建造传染病医院时表示反对,因为知音湖是武汉备用水源地之一。很多事情发生后,往往民众的第一反应是正确的。百度百科是这样介绍知音湖的水质:“水质至清至纯闻名”。在长江流域,乃至在中国,湖泊水质至清至纯闻名应该是稀有物品。知音湖作为备用水源地是理所当然。
对此武汉城建局负责人表示,目前汉阳片区供水水源长江汉江互补,管网已经连通,不需要该湖备用。
武汉城建局负责人并没有否认,知音湖是武汉的备用水源这个事实,只是强调,目前汉阳片区供水水源长江汉江互补,管网已经连通,不需要知音湖作为备用水源。
从武汉城建局负责人的表态可以看出,知音湖是武汉的备用水源,并没有通过任何规划程序将知音湖排除出备用水源的行列。只是在技术上来说,汉阳片区的供水水源可以引用长江或者汉江的水。但是最近五年来,汉江一部分的水从丹江口水库被南水北调工程引走,丹江口大坝至武汉的汉江河段水量不足,水质变坏,常有绿藻发生。长江沿岸多化工厂,加上三峡大坝的挡水,河流自净能力大减。2019年入冬,由于三峡工程蓄水,长江流量减少,长江在武汉处水位大降,大片沙滩露出水面。舍弃知音湖作为武汉的备用水源,而直接引用长江或者汉江的水,是舍优取次,并非明智之举。
当中共政府决定建设“火神山”医院时,人们并不知道,武汉肺炎病毒是可以通过粪便传染的,当时只知道通过空气近距离传染。
在“火神山”医院建设期间,在美国首例康复病人的粪便中发现了新型冠状病毒,在深圳患者粪便中也发现新型冠状病毒。这就是说,病毒可以在粪便中生存。接下去的问题就是病毒是否可以通过水传播?水对于人生命的重要性,大家都懂的。纵观中外疫病爆发的历史,许多大疫病都是通过水传播的。台湾媒体的节目中指出一个现象,这是大陆媒体没有关注的:武汉下游地区的疫情要比武汉上游的疫情严重许多。这是否与水传播有关,不得而知。
武汉长江大堤后的湖泊,包括知音湖,与长江保持千丝万缕的联系。一旦知音湖被污染,长江也会被污染。知音湖位于武汉中心的上游,无论知音湖是否继续保留为武汉的备用水源,知音湖被污染,长江也会被污染,对武汉造成的生态危机绝不会低于武汉肺炎公共卫生危机本身。

图4:知音湖与长江河道以及武汉中心的关系,来源:网路图片,这里借用
况且武汉城建局负责人也没有能够保证,“火神山”医院不会污染知音湖的水质。他们只说,“火神山”医院将建设污水处理设施,化粪池中的病毒用75%的酒精消毒就可。如果真是这样,多喝高度的白酒也能防治武汉肺炎病菌了。从建设程序上来说,从工程建设技术的可能性来说,“火神山”医院可以在六天或者十天的时间内建成,但是高级的、封闭的传染病医院的污水处理设施,是不可能同期完成的。武汉城建局负责人表态传递出来的真正信息是:更改“火神山”医院的选址已经来不及了,已经没有时间了,就是“火神山”医院选址错误,也是不可能更改了。没有时间了!一切为了赶速度。从“火神山”医院建成后的报道来看,“火神山”医院有简单的医院污水处理设施,经过处理的污水进入武汉城市污水管道,最后进入长江。至于“火神山”医院的废水雨水不会进入地下水,进而污染知音湖的问题,在后面面展开讨论。
“火神山”医院选址错误之二是距离居住区太近。
按照中华人民共和国传染病医院的建设规范第3款传染病医院选址中的第3.1条规定:“为保证传染病医院的有效卫生隔离,新医院建设应该远离城市人群密集活动区,包括高密度居住区、幼儿园、小学校等教育设施以及商场、俱乐部等商业文化设施。如用地无法互相躲让,应采取必要的保护距离设置绿化隔离带。”
传染病医院到居住区的有效卫生隔离应该在500米以上,以防止传染病病毒或者病菌感染居住区的居民。在特殊情况下,如用地无法互相躲让,应采取必要的保护距离设置绿化隔离带。
从无人机拍摄的“火神山”医院的照片(图5)中可以看到,“火神山”医院距离附近居住区的距离不能满足传染病医院的有效卫生隔离的要求。照片右边部位的居住区距离“火神山”医院的距离小于100米,照片后边部位的居住区距离“火神山”医院的距离小于250米。无论是照片右边部位的居住区还是照片后边部位的居住区,与“火神山”医院之间都没有设置绿化隔离带。
图5:“火神山”医院
图片来源:新华网
根据名为楼市资本的网友发表的文章,“火神山”医院为别墅豪宅环绕。文章描述道:“知音湖区域一直是武汉楼市中的一个开发热点,很早就吸引了恒大、世茂、和记黄埔、凯德中国、世纪万通、绿地、泰禾等一大批知名房企,落子布局。”火神山医院周边,有四大高端项目颇为瞩目,它们分别是:
项目一:和记黄埔地产公司的和记黄埔观湖园,是集主题酒店、尊贵会所、别墅于一体的国际化湖畔生活社区;
项目二:新加坡凯德公司的凯德悦湖,与火神山医院仅隔一条马路;
项目三:绿地公司的绿地美湖是高品质低密度亲水生活墅区;
项目四:泰禾公司的知音湖院子,也是高级别墅区,与火神山医院咫尺相望(见图2)。
“火神山”医院为别墅豪宅环绕,与居住区一街相隔,咫尺相望,违法了传染病医院选址的基本原则。
图6:“火神山”医院周边的居住区
图片来源:楼市资本:揭秘火神山医院!武汉坐西朝东绝杀之地,别墅豪宅环绕
四、“火神山”医院选址与小汤山医院选址的区别
都说武汉“火神山”医院是模仿北京小汤山模式建设而成,似乎武汉“火神山”医院选址就没有错误了。
在2003年到2004年的萨斯病毒扩散期间,北京市在郊区小汤山修建起了一座有1000张床位的临时医院,以接纳大量的非典病人。小汤山是一个温泉区,北部是山区,有大杨山国家森林公园,蟒山国家森林公园等,森林覆盖率高,地势高爽。选择的医院建设场地本是小汤山疗养院的扩建预留地,已经有良好的基础设施条件,包括进出的道路、污水处理厂,垃圾焚烧场等等。小汤山临时医院距最近的村庄超过500米,对当地民众影响较小。最重要的是,北京最主要的京密引水渠在小汤山疗养院北面4公里,小汤山临时医院的市政管道向东南排放,不会影响京密引水渠道,不会影响北京市水源。
而武汉“火神山”医院的选址与北京小汤山完全不同。
武汉“火神山”医院直接位于知音湖畔,唯一的优点是只有一个入口,便于全封闭式管理,隔离与外界联系。但是“火神山”医院地势低洼,地下水位高,十分潮湿,应该是在五十年一遇的洪水淹没范围内。从施工图片中可以看出,这里本是一片湿地,长满芦苇,用老话说瘴气重。而且附近就已经有多座居民住宅,相隔距离很小,不能满足传染病医院隔离距离的要求。再者,武汉“火神山”医院周围没有森林,树木也是稀有物品,对净化空气十分不利。
五、“火神山”医院病房的低压病房
根据媒体的报道,“火神山”医院“病房内的气压要比外面的低,保证外面的新鲜空气进入房间,但内部的空气不会倒流,而是通过新风系统出去。”所以病房内带有病毒的空气不会进入外部环境,不会影响周边的居住区或者水体。
“火神山”医院的建筑是框架模板结构,这种结构在工业国家中常常用于建设工地的临时办公室、工人休息室,结构简单,装配快速,工期完成后可以拆除容易搬走。这种建筑结构的医院病房要保证密封、并保证病房内的气压要比外面的低,是很困难的。就算“火神山”医院的病房是“密封”的,但是“火神山”医院的病房确实不能保证病房内带有病毒的空气不进入外部环境。
对比一下病房的传递口(送饭菜的窗口)和病房的门、窗。传递口是一个箱式结构,有一个入口和一个出口,中间是一个过渡空间,出口和入口不能同时打开(图7)。而进出病房的门只有一扇,据说还只能从外面打开,里面的病人无法打开门的。要保证病房内的气压要比外面的低,而且病房内带有病毒的空气不进入外部环境,病房内的门必须和传递口一样,有两扇门,两扇门之间是一个过渡空间。可惜“火神山”医院病房的门只有一扇(图8、图9),当医生和护士打开门时,问题就出现了。病房的窗子也只有一扇,窗子一开,空气互相流动。如果病毒通过空气外泄,病毒密度大,形成气溶胶(固态悬浮粒子)再传播,风险就更大了。除非当病人住入病房后,一切生活全部自理,每天的饭菜、饮料从送饭窗口送人,医生和护士也不进入病房查看和服务,这样才能保证带病毒的空气不外泄。这样就有点象德国医院中专设的等死间。

图7:“火神山”医院病房的传递口(送饭窗口),网路照片
图8:“火神山”医院病房的门与窗,网路照片
图9:“火神山”医院病房的布局示意图,网路照片
六、“火神山”医院的一滴污水都不会进入土壤,不会进入地下水
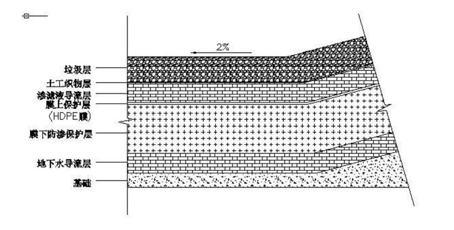
澎湃新闻的《十天完工的火神山医院,到底有多牛?》一文指出:“而和普通的工程不一样,隔离病房最关键的一点在于如何做好防渗工作,避免医疗废水流到地下污染地下水,或是污染湖泊。” “火神山”医院雨水全收集全消毒(!),不让一滴污水进入地下,不会污染周围环境和湖泊,标准很高。文章详细地介绍了“火神山”医院地面防渗工作的具体做法,并附图(图10)加以解释。
第一步:用挖土机进行土地平整;
第二步:在整备完的地面上均匀铺一层 20公分的沙子;
第三步:铺上一层每平方米重 600克的白色土工布;
第四步:铺完之后马上热熔焊接一层 HDPE(2.0mm 双糙面)防渗膜;
第五步:紧接着再铺一层白色土工布;
第六步:完了之后,所有的地面再铺上一层 20公分的沙子;
第七步:上面铺设钢筋,浇铸混泥土或者回填土壤(下图中标明的是垃圾层,不知何意)。
“火神山”医院的涉及者和建设者希望通过这样多层的地基处理,既可以给医院建筑提供一个十分平整、十分安全的基础,同时也形成完善的防渗层,避免医疗废水包括雨水流到地下污染地下水,或是污染湖泊。
图10:“火神山”医院地面防渗工程的事宜图,
来源:澎湃新闻的《十天完工的火神山医院,到底有多牛?》
“火神山”医院的工作进程大致如下:
2020年1月24日(除夕),土地平整工作开始;
2020年1月25日,土地平整,铺垫沙子;
2020年1月26日,防渗层施工全面展开;
2020年1月27日,场地整平、碎石黄沙回填全部完成,首批箱式集装箱板房吊装搭建;
2020年1月28日, 1栋双层病房区钢结构初具规模。
可见到1月28日,前面提到的带防渗层的地基处理工程已经全部完成,医院建筑开始组装和吊装。1月29日与30日继续安装箱式板房和安装室内管线。
2020年1月30日晚8点20分左右,距离完工日期2月2日还有不到三天的时间,
“火神山”医院工地上发生冲突。中央电视台现场转播停播2小时。有媒体解释说,这是武汉市政跟中建三局的工人之间“抢工作”而导致爆发的冲突,中建三局守着进出口不让其它单位车进出,武汉市政集团急了,跟他们干起来了。
事实真相是,武汉市政承担的是铺设地下污水管道和自来水管道以及建设化粪池的任务,而铺设地下管道和建设化粪池必须开挖已经完工的地基和防渗层。这种开挖是破坏性的开挖,这是总包“火神山”医院工程的中建三局所不能接受的。那么铺设地下上下水管道和开挖化粪池的任务应该在什么时间开始?什么时间完成呢?这项工程应该与土地平整工作同时开始,并在1月26日防渗层施工全面展开之前完成。但是“火神山”医院的地下管道的开挖和铺设是在1月30日晚8点才开始的,这必将对已经完工的场地防渗层造成不可估量的破坏。为了不让工程程序上的重大错误暴露在广大热心观众面前,中央电视台果断地中断了直播。
当武汉市政铺设地下上下水管道和化粪池工程完成时,中建三局已经完成的地基含防渗层被破坏了。就是事后采取补救措施,再也不能保证不发生废水渗漏。这个严重问题就发生在建设程序上,应该最先完成的工程,却是在工程进入晚期才开始。光吹嘘速度是没有用的。
尽管根据媒体报道,“火神山”医院设有简单的污水处理设施,但这不是一个单独的、隔离的、高标准的系统。经过医院污水处理设施简单处理后的医院废水,最后还是流入武汉城市污水官网。“火神山”医院的废水极有可能进入土壤,可能进入地下水,进入地表水,污染知音湖,污染长江。不让一滴污水进入地下,不污染周围环境和湖泊,只是宣传的要求,而不是“火神山”医院能够达到的目标。
最后提及一下,“火神山”医院建有焚化炉,是用来焚烧卫生垃圾的,应了“火神山”医院源自“纸船明烛照天烧”。
图11:“火神山”医院的图腾,来源:网路图片
七、结束语
10天建成武汉“火神山”医院,速度很快,但是违反了建筑规范,也违反了建筑基本程序,后果很严重。武汉“火神山”医院的建设,恰恰不能说明中国模式高速的优势,而是暴露了中共政府应对紧急事件能力的低下。


